
產品與解決方案/PRODUCT AND SOLUTIONS
少用電 用好電 再生電 存儲電 防爆電
解決方案
高壓變頻器在脫硫羅茨風機上的應用
1企業介紹
山東魯西化工股份有限公司位于山東省聊城市,是一家具有百億年產值的上市企業,員工近萬人。公司具有年產合成氨100萬噸、尿素150萬噸、復合肥150萬噸、磷酸二銨15萬噸、硫酸100萬噸的生產能力,擁有10萬千瓦發電機組配套裝置,是集化肥、化工于一體的綜合性化學工業企業。其下屬企業魯西化工第二化肥廠,位于聊城市東阿縣,于1970年開始籌建,1972年建成投產,當時年產合成氨生產能力3000噸,發展到現在,企業總資產7.62億元,占地面積34萬平方米,職工1570余人,成為上市公司。
2008年,該公司進一步加大技改投資力度,投資2.5億元對現有生產裝置進行優化。對全系統進行節能平衡改造,甩掉污染嚴重、能耗偏高的工藝。從節能降耗、環保角度出發,投資部分技改項目,優化生產裝置,降低成本。
2廠家工藝流程及現狀
脫硫風機采用的羅茨風機屬于回轉容積式鼓風機,它的鼓風量與風機轉速成正比,基本不受出風口阻力變化的影響,這種硬風特性決定了不允許通過關閉出風口或進風口的辦法來調節風量,而且經過采取優化以上主要工藝環節措施以后,大量過剩風量調節只能采用旁路,造成風機能量的大量損耗,而且由于磨損而腐蝕問題突出,旁通閥門需要經常維修。工藝流程設備圖如下所示:

圖1 工藝流程設備圖
該生產線自投運以來,發現該二系統脫硫風機的問題較大:首先是風機出口的管道振動大、噪聲大,雖說經過幾次的技改已有所改善;另外,就目前風機送風量能力遠超生產能力,為保生產只能把多余的通過回流管道接到風機進口去。
采用甲烷化法脫硫除原料氣中CO、CO2 時, 合成氨工藝流程圖如下:
造氣 ->半水煤氣脫硫 ->壓縮機1段 ->變換 -> 變換氣脫硫 -> 壓縮機2段 ->脫碳 -> 精脫硫 ->甲烷化 ->壓縮機3,4,5段 ->氨合成 ->產品NH3
原系統設備參數如下表1所示:
表1

3改造方案
改造前:原系統6KV高壓開關柜直接到電機,電機與風機相連。
改造后:在原系統6KV高壓開關柜后面加入變頻器,變頻器輸出接電機,電機再與風機相連。
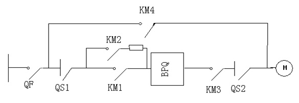
改造方案原理接線圖如下圖2所示。

圖2 改造方案原理接線圖
變頻器配備了自動旁路柜,通過KM3、KM4的控制,可自動(或手動)在變頻狀態和工頻狀態之間切換。變頻狀態下, KM3閉合,KM4斷開,變頻器控制電機;工頻狀態下,KM3斷開,KM4閉合,在切換至工頻帶動電機。變頻器可以在重故障時自動切換工頻運行,這樣既保證了變頻器正常運行,又避免了直接啟動電機大電流對電網的沖擊。
4現場運行情況
2008年8月16日,山東聊城魯西化工第二化肥廠和我公司簽訂高壓變頻器購貨合同,型號為JD-BP37-450F。2008年9月30日,開始安裝就位;2008年10月2日,一次調試成功投入運行。整個變頻器安裝調試周期都很短,為系統的正常生產提供了有利的保證。
5節能效果
山東九游娱乐官方网站電子科技發展有限責任公司生產的JD-BP37-450F變頻器應用于4#脫硫羅茨風機進行了改造。由于我廠的每臺高壓變頻器在出廠前均經過實際風機負載的整機出廠檢驗和調試,在現場的調試又可以在沒有高壓輸入的情況下調試,因此在經過約一周的施工、安裝和調試后,上電試驗和試運行進行順利,一次投運成功,高壓變頻器一直持續穩定運行。

根據生產情況,風機運行30HZ左右就能滿足了生產工藝要求;運行轉速在額定轉速的60%左右。由于電機為水冷卻,在低轉速下發熱量并沒有提高,完全滿足了工況運行。
變頻改造后節能效果顯著,與原有的工頻驅動方式相比,風機效率穩定在理想的范圍內,電動機能耗大大降低,節約電量可達37%。特別是機組低負荷運行時,效果更顯著。以下為節能效果估算:
節能估算條件:是在同一時間段內進行比較,相同生產條件需求下,同一段母線上的兩臺羅茨風機,5#羅茨風機工頻運行,4#羅茨風機變頻運行,兩臺電動機進行比較節能估算。首先10月份是正常生產時期,10月2日開始投入變頻至今,從此月2日至9日5#電動機耗電能有功功率平均在362KW,而2日投入變頻運行后,2日至9日時4#電動機耗電能有功功率平均在230KW。以上數據不難看出投入變頻后確實起到節能。另外,無功功率也從原來的平均276KVar降到平均為83KVar左右,大大改善了系統的無功補償。
根據以上數據計算,由于生產使用自備發電,以0.386元/kWH的成本價電費,按以下計算公式計算,年節電效益:年節電效益=(工頻時平均功率-變頻時平均功率)×天運行小時數×年運行天數×電費單價,結果如下:
(362kW-230kW)×24小時/天×300天/年×0.386元/kWH=36.69(萬元/年)。
按照保守的計算方法,每年可節電費近37萬元,具有明顯的經濟效益。
本次羅茨風機配套用風光牌高壓變頻調速系統改造成功后,由于實現了頻率的遠方調節和狀態監控,產品運行可靠、穩定,大大地改善了系統工藝,該公司決定再次采購三套風光牌高壓變頻調速系統用于另外三臺710kW/6KV羅茨風機配套電動機的變頻技術改造。
6其他效益
6.1 該羅茨風機由于采用變頻控制,可對風量進行精確控制,而且與閥門控制相比更直觀、方便調節風機風量來滿足生產需要;
6.2 由于采用了變頻技術,電機實現軟啟動,不存在啟動電流沖擊;原來沒有使用變頻器時電機直接啟動,啟動電流高達200-300A,對電機或電網都具有不利的影響。現在使用變頻器軟啟動,啟動電流不高于額定電流46A,減少了風機出口壓力瞬間提高對風機的沖擊,從而延長了風機和其他設備的使用壽命;
6.3 由于風機轉速降為原來的60%,大大減少了風機管道振動頻率和噪聲,延長風機、電機軸承的機械壽命,減少了設備的維護量。
6.4 由于旁通閥門幾乎不操作,減少了風道的振動與磨損腐蝕,提高了機械壽命。
7 變頻改造總結
根據針對該項目的變頻改造經驗以及同類其他項目的實踐結果,總結出風光高壓變頻器改造具有以下優點:
(1)安裝簡單。變頻器安裝在高壓開關柜和電機之間,對原有接線改動不大。
(2)操作簡單。直觀的中文人機界面,設備具有開機、停機和頻率調整等操作。
(3)調速平滑。能夠進行無級調速,調速范圍寬,并且調速精度高。
(5)節電明顯。根據工況要求,變頻器一般運行在27Hz左右,實際輸入電流不到額定電流的一半,節電率高達37%以上。
(6)噪音降低。由于電機運行于較低轉速上,運行噪音大大降低,電機的發熱量也有明顯下降。
(7)保護完善。變頻調速系統具有完善的保護功能,降低了電機運行中的故障率,并且啟動平穩,啟動電流小,對電網的沖擊量小,大大提高了可靠性。輸出諧波小。變頻器輸出符合IEEE STD 519 1992及中國供電部門對電壓失真較嚴格的要求,高于國標GB/T14549-93對諧波失真的要求,不需要采用輸出電抗器。
(8)具有星點漂移功能。三相輸出采用單元串聯結構,在運行中,如果有任意三個單元以內出現故障,變頻器本身會自動旁路,同時變頻器主控系統具有星點漂移功能,使三相輸出線電壓保持平衡,不會對電動機造成不利影響。
8 結束語
從現場運行情況來看,山東九游娱乐官方网站電子科技發展有限公司生產的JD-BP37-450F高壓變頻器性能優越,運行可靠,有效地降低了生產成本,在生產材料成本日益增長的今天,通過有效的節能改造,具有明顯的經濟效益。