
產品與解決方案/PRODUCT AND SOLUTIONS
少用電 用好電 再生電 存儲電 防爆電
解決方案
高壓變頻器在靈寶黃金冶煉廠鼓風機上的應用
1引言
靈寶黃金股份有限公司為一家香港主板上市公司(股票代碼:3330)。公司成立于2002年9月27日,位于中國第二大產金省河南省的“金城”——靈寶市。公司主要從事黃金(及其伴生元素) 開采、選冶、精煉、深加工與銷售,主要產品為金錠,副產品為銀、硫酸、電解銅及電解銅箔。公司現有3個分公司、19個子公司。下屬靈寶黃金冶煉三分廠硫酸生產設備老化,該公司于2009年6月對該硫酸生產設備進行了改造,其中二氧化硫鼓風機(6KV440KW)改變了原來的閥門調節方式,采用先進的高壓變頻器調速系統,經過市場和行業內調研,選用山東九游娱乐官方网站電子科技發展有限公司生產的JD-BP37-450F系列高壓變頻器。
2項目改造
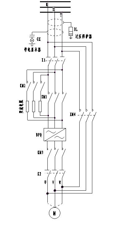
改造中在排風機管道出口安裝壓力變送器以檢測氣體壓力變化,并將輸出信號傳輸給高壓變頻器,高壓變頻器根據壓力的變化來控制電機轉速,從而自動調節風機流量。當高壓變頻器調節系統發生故障時,在高壓變頻器上可以選擇人為或者自動旁路到工頻運行。主回路改造圖如下:

圖1 JD-BP37-450F電氣改造一次主回路示意圖
電動機參數(沈陽電機股份有限公司)

風機參數(湖北風機廠)

3高壓變頻器原理
3.1系統結構
JD-BP37系列高壓變頻調速系統的結構見圖2,由移相變壓器、功率單元和控制器組成。6KV系列有5個功率單元,每15個功率單元串聯構成一相。

圖2 高壓變頻器系統結構圖
3.2功率單元電路

圖3 功率單元主電路圖
每個功率單元結構上完全一致,可以互換,其主電路結構如圖所示,為基本的交-直-交雙向逆變電路,圖中通過逆變塊IGBT反并聯的二極管構成三相全橋方式整流,整流后的給濾波電容充電,確定母線電壓, 通過對IGBT逆變橋進行正弦PWM控制實現雙向逆變。
功率單元輸出波形:

圖4 單個功率單元輸出波形
3.3輸入側結構
輸入側由移相變壓器給每個單元供電,每個功率單元都承受電機電流、1/5的相電壓、1/15的輸出功率。15個單元在變壓器上都有自己獨立的三相輸入繞組。功率單元之間及變壓器二次繞組之間相互絕緣。二次繞組采用延邊三角形接法,目的是實現多重化,降低輸入電流的諧波成分。
本機中移相變壓器的副邊繞組分為三組,構成36脈沖整流方式;這種多級移相疊加的整流方式可以大大改善網側的電流波形,使其負載下的網側功率因數接近1,輸入電流諧波成分低。實測輸入電流總諧波成分小于4%。
3.4輸出側結構

圖5 5個單元輸出波形疊加圖
輸出側由每個單元的U、V輸出端子相互串接而成星型接法給電機供電,通過對每個單元的PWM波形進行重組,可得到階梯PWM波形。這種波形正弦度好,dv/dt小,可減少對電纜和電機的絕緣損壞,無須輸出濾波器就可以使輸出電纜長度很長,電機不需要降額使用,可直接用于舊設備的改造;同時,電機的諧波損耗大大減少,消除了由此引起的機械振動,減小了軸承和葉片的機械應力。圖5為變頻器輸出的線電壓階梯PWM波形。
3.5控制器
控制器核心由高速32位數字信號處理器(DSP)運算來實現,精心設計的算法可以保證電機達到較優的運行性能。人機界面提供友好的全中文WINDOWS監控和操作界面,同時可以實現遠程監控和網絡化控制。內置PLC控制器用于柜體內開關信號的邏輯處理,以及與現場各種操作信號和狀態信號的協調,可以和用戶現場靈活接口,滿足用戶的特殊需要,增強了系統的靈活性。
數字信號處理器(DSP)相對于模擬信號處理有很大的優越性,表現在精度高、靈活性大、可靠性好、易于集成、易于存儲等方面。傳統的模擬信號處理技術正由全新的數字信號處理技術(DSP)所代替。DSP是面向高速重復性數值運算密集型的實時處理。高性能DSP不僅處理速度快,而且可以無間斷的完成數據的實時輸入與輸出。DSP結構相對單一,普遍采用匯編編程,其處理完成時間的可預測性要比結構和指令復雜、依賴于編譯系統的普通微處理器強的多。它可以單周期完成這些乘加并行操作,而普通微處理器需要至少4個指令周期,因此在相同的指令周期和片內指令緩沖條件下,是普通微處理器運算速度的4倍以上。
另外,控制器與功率單元之間采用多通道光纖通訊技術,低壓部分和高壓部分完全可靠隔離,系統具有極高的安全性,同時具有很好的抗電磁干擾性能,并且各個功率單元的控制電源采用一個獨立于高壓系統的統一控制器,方便調試、維修、現場培訓,增強了系統的可靠性。
3.6 控制電源
控制器有一套獨立于高壓電源的供電體系,在不加高壓的情況下,設備各點的波形與加高壓情況基本相似,給整機可靠性、調試、培訓帶來了很大方便。
系統采用三次諧波補償技術提高了電源電壓利用率,利用了調制信號預畸變技術,使電壓利用率近似于1。系統還采用了先進的載波移相技術,它的特點是單元輸出的基波相疊加、諧波彼此相抵消。所以串聯后的總輸出波形失真特別小。
4運行情況
我們調試服務人員于2009年7月17號到達現場,經過三天的安裝與調試后,設備一次成功投入運行,根據管道壓力變化,高壓變頻器穩定運行于29Hz—46Hz,運行輸入電流10A—32A,運行輸出電流17A—36A,變頻平均運行電流24A。
5節能計算
按工頻和變頻運行實際電流計算,計算數據取2009年8月份技術測定
工頻運行時,風門開度為2m左右,運行電流在36A。
工頻運行時功率和耗電:
P1= 1.732×6×36×0.87=325.47kW
N=325.47×24=7811.28kW?h
變頻器運行時,風門全開,平均運行電流在24A,由變頻器調節風機速度來滿足風量要求。
變頻運行時功率和耗電:
P2= 1.732×6×24×0.958=238.93kW
N=238.93×24=5734.32kW?h
節電率:
?。?811.28-5734.32)/7811.28=26%
節約電費計算:
以電價0.6元/度為標準,工頻24小時耗電費:
7811.28×0.6=4686.77元
變頻24小時耗電量
5734.32×0.6=3440.59元
變頻改造后,日節約電費:
4686.77-3440.59=1246.18元
一年以300天為標準計算,年節約電費:
1246.18×300=373854元。
6改造總結
根據針對該項目的變頻改造經驗以及同類其他項目的實踐結果,總結出風光高壓變頻器改造具有以下優點:
?。?)安裝簡單。變頻器安裝在高壓開關柜和電機之間,對原有接線改動不大。
?。?)操作簡單。直觀的中文人機界面,設備具有開機、停機和頻率調整等操作。
?。?)調速平滑。能夠進行無級調速,調速范圍寬,并且調速精度高。
(4)節電明顯。根據工況要求,變頻器一般運行在30Hz左右,實際輸入電流不到額定電流的一半,節電率高達26%以上。
(5)噪音降低。由于電機運行于較低轉速上,運行噪音大大降低,電機的發熱量也有明顯下降。
?。?)保護完善。變頻調速系統具有完善的保護功能,降低了電機運行中的故障率,并且啟動平穩,啟動電流小,對電網的沖擊量小,大大提高了可靠性。
?。?)輸出諧波小。變頻器輸出符合IEEE STD 519 1992及中國供電部門對電壓失真要求,高于國標GB/T14549-93對諧波失真的要求,不需要采用輸出電抗器。
?。?)具有星點漂移功能。三相輸出采用單元串聯結構,在運行中,如果有任意三個單元以內出現故障,變頻器本身會自動旁路該單元,同時變頻器主控系統具有星點漂移功能,使三相輸出線電壓保持平衡,不會對電動機造成不利影響。星點漂移功能實現了高壓變頻器在一個或多個單元發生故障后,使其輸出有效電壓保持較大的幅值,使得高壓變頻器的可靠性上了一個臺階,較大限度地保證了變頻器連續安全運行。
7結束語
采用高壓變頻器后電機可實現軟啟動,電機啟動電流大大減小,其數值僅相當于額定電流,從根本上杜絕了啟動中電機燒毀事故,電機軟啟動將啟動過程的機械沖擊減小到較小,從而延長了傳動裝置及風機的使用壽命。同時,較小的啟動電流對電網也不會產生大的沖擊,免除了高壓電器開關被大電流擊穿的危險。采用高壓變頻器可實現DCS控制,大大提高了控制精確性和生產安全性。我國冶煉煙氣制酸SO2風機使用高壓變頻器,不僅可以解決困擾企業的風機運行問題,而且可節約大量電費。綜合技術經濟情況分析,靈寶黃金冶煉三分廠二氧化硫鼓風機采用高壓變頻器調速是完全可行的。
從現場運行情況來看,山東九游娱乐官方网站電子科技發展有限公司生產的JD-BP37-450F高壓變頻器性能優越,運行可靠,有效地降低了生產成本,在生產材料成本日益增長的今天,通過有效的節能改造,具有明顯的經濟效益。